Отъезды и подъезды артиллерийских орудий
Отъезды и подъезды артиллерийских орудий
| Фиг. 1. | Фиг. 2. |
ОТЪЕЗДЫ и ПОДЪЕЗДЫ, служат для непосредственного перехода орудия из боевого порядка в походный и обратно.
В зависимости от разнообразия обстановки на позиции, пользуются тем или иным из Отъездов и подъездов, впрочем, не всегда ограничиваясь лишь уставными формами.
Степень обученности батареи Отъезду и подъезду, влияя на быстроту выезда или ухода с позиции, имеет особенно важное значение при открытых позициях.
А) В легкой и гаубичной артиллерии:
- м. быть 2 порядка для боя:
1) орудие и задний ход ящика без передков поставлены рядом (фиг. 1), передки находятся в 16 шагах (дальний Отъезд) или же за закрытием, или на указанной начальником дистанции (за флангами или в тылу), и
2) орудие снято с передка (фиг. 2), орудийный передок — сзади орудия в 8 шагах, тылом к нему, а зарядный ящик — впереди орудийного передка или уводится за закрытие (ближний Отъезд).
Порядок для движения см. в ст. Артиллерийский строй, черт. 1 и 2.
Для стрельбы в направлении движение заезд орудием выполняется до снятия с передка.
Отъезды:
| Фиг. 3. | Фиг. 4. |
1) Дальний совершается:
а) при фронтальном выезде и
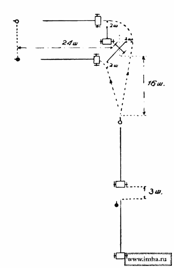
б) при фланговом выезде; при этом перед остановкой необходимо поставить ящики в 1-м случае справа (фиг. 3) от орудия, а во 2-м — со стороны, противоположной неприятелю (фиг. 4).
Заняв у хобота лафета и у стрелы зарядного ящика места по фиг. 3, номера расчета снимают хобот и стрелу со шворней передков, хобот опускают или прямо на землю (фиг. 3), или предварительно повернув в сторону, указанную в команде (фиг. 4), а задний ход повертывают стрелой в сторону противника (фиг. 3) или подкатывают его рядом к орудию и занимают свои места по фиг. 1. Передки же отъезжают, как указано пунктирными линиями на фф. 3 и 4, и становятся в 16 ш. за хоботом.
2) Ближний Отъезд:
- требует перед остановкой помещение ящика впереди орудия и исполняется так же, как выше, только ящичные и орудийные запряжки продвигаются прямо вперед на 8 шаг. (фиг. 2).
При установке передков не по фиг. 1 или 2, а за закрытиями вдали от орудия, их ведет ящичный вожатый согласно указанию начальника.
Подъезды:
| Фиг. 5. | Фиг. 6. |
1) Для движения вперед: номера расчета располагаются у хобота, у стрелы и у колес по фиг. 2, поднимают хобот и стрелу, орудие откатывают на 2 шага назад, а когда передки, двигаясь по указанному пунктиром пути, минуют орудие и ящик, поворачивают хобот и стрелу к шворням передков, подкатывают орудие и ящик к передкам и, надев их на шворни, становятся на свои места (черт. 1 ст. Артиллерийские строи) для походного порядка, а запряжки дотягивают до орудийных фейерверкеров.
2) Для движения назад подъезд исполняется, как выше, со следующими изменениями:
а) Номера, подняв хобот и откатив орудие на 2 шага назад, поворачивают его на 1/8 круга в сторону ящика (фиг. 6), и
б) орудийный фейерверкер и ящичный вожатый ведут свои передки с заездом.
| Фиг. 7. | Фиг. 8. |
| Фиг. 9. | Фиг. 10. |
3) Для движения направо или налево при исполнении подъезда орудийный фейерверкер и ящичный вожатый ведут свои передки по пути, указанному на ф. ф. 7 и 8. Передки из-за закрытия для исполнения подъезда предварительно вызываются к орудиям, подводятся ящичным вожатым и останавливаются на дальнем Отъезде (в 16 ш.) за хоботом.
4) Для движения назад с ближнего Отъезда исполняется подъезд, как и для движения вперед, но номера расчета, подняв хобот, подкатывают орудие к передку, а орудийные ездовые, оглядываясь назад, в то же время осаживают передок к орудию; когда орудие будет надето, орудийное запряжка дотягивается до ящика.
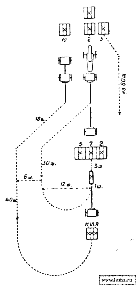
Б) В конной артиллерии,
где все номера расчета верхом, число их на 3 больше, чем в легкой, при чем 4 номера служат коноводами, порядки орудия для боя (ф. ф. 9, 10 и 11) и для движения (ф. ф. 12, 13, 14 и 15) в общем аналогичны таковым в легкой и гаубичной артиллерии, с отличиями в подробностях, видными из ф. ф.; а кроме того, для боя имеется порядок по фиг. 10, не предусмотренный для легкой и гаубичной артиллерии, при котором зарядный ящик находится за закрытием или на указанной начальником дистанции (за флангом или в тылу), а передок остается за хоботом орудия в 16 ш.
Отъезды — те же, что в легкой и гаубичной артиллерии, — при фронтальном движении (фиг. 16), при фланговом (фиг. 17) и ближний (фиг. 18); а пути движение передков и коноводов показаны пунктиром.
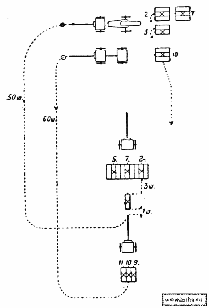
Подъезд — при движении вперед (фиг. 18), назад (фиг. 19), направо (фиг. 20) и налево (фиг. 21) и назад с ближнего Отъезда (фиг. 11) — те же, что в легкой и гаубичной артиллерии; пути движения передков и коноводов показаны пунктиром.
Существует еще один подъезд для движения вперед с ближнего Отъезда (фиг. 22), которого нет в легкой и гаубичной артиллерии.
В) В горной артиллерии
Отъездами и подъездами называются переходы из колесного походного порядка в боевой и обратно, весьма сходные с Отъездом и подъездом легкой и гаубичной артиллерии, отличаясь гл. образом присутствием вьючных лошадей, которые после Отъезда своими вожатыми отводятся за соответствующие передки.
При подъезде вьюки двигаются за своими запряжками.
| Фиг. 11. | Фиг. 12. | Фиг. 13. | Фиг. 14. |
| Фиг. 15. | Фиг. 16. | Фиг. 17. | Фиг. 18. |
| Фиг. 19. | Фиг. 20. | Фиг. 21. | Фиг. 22. |
Если у Вас есть изображение или дополняющая информация к статье, пришлите пожалуйста.
Можно с помощью комментариев, персональных сообщений администратору или автору статьи!

Посетители, находящиеся в группе Гости, не могут оставлять комментарии к данной публикации.