Панорама
Панорама
ПАНОРАМА, оптический прибор для прицельных приспособлений у артиллерийских орудий, представляющий совокупность призменной зрительной трубки и угломера и отвечающий требованию, чтобы наводчик мог наводить в любую из окружающих точек, не сходя со своего сиденья на лафете.
Фиг. 1. |
Фиг. 2. |
Фиг. 3. |
Фиг. 4. |
Фиг. 5. |
Фиг. 6. |
С переходом к скорострельной артиллерии широкое развитие получила стрельба по угломеру. Вначале угломеры были без оптических визирных приспособлений и располагались на теле орудия, a затем для большей точности наводки стали к ним применять оптические зрительные трубки.
С принятием щитов к полевым лафетам такие прицельные угломеры оказались неудобными: передние вспомогательные точки оказались закрытыми щитом, а для наводки по задним вспомогательным точкам щит не позволял подойти спереди к прицелу; для наводки в боковые точки наводчику приходилось выходить из-за щита, теряя прикрытие; кроме того, сходя с места при наводке, наводчик д. был оставлять рукоятки подъемных и поворотных механизмов, передавая работу ими другому. Вместе с тем при принятых потом неподвижных при стрельбе лафетах, допускающих производство серии выстрелов с самыми незначительными поправками наводки, прицельные угломеры указанного типа не допускали использовать даваемой этими лафетами скорострельности.
Панорамы и явилась ответом на эти требования, давая круговой (панорамный) обзор местности при неподвижном окуляре.
Из Панорамы, разработанных оптическими фирмами Герца, Цейсса, Крауса и Гана, лучшею оказалась Панорамы 1-го завода, которая и принята большинством государств, в том числе и Россией, к современным орудиям горной, полевой и тяжелой артиллерии.
Идея применения к угломеру зрительной трубки с неподвижным окуляром принадлежит капитану швейцарской артиллерии Генриху Карроди; при сотрудничестве этого офицера заводом Герца в Берлине в 1902 г. и разработана Панорама известная под названием Панорамы Герца.
Корпус её стальной; нижняя коленчатая часть (фф. 1, 2 и 3) укрепляется неподвижно на стебле прицела, обычно так, что ось окуляра А параллельна плоскости стрельбы. Верхняя часть б (головка), с продолженной книзу внутренней трубкой и червячным колесом в, может вращаться вокруг вертикальной оси посредством барабанчика, насаженного на ось червяка г, который сцеплен с червячным колесом в.
Для быстрых поворотов червяк м. быть выведен из сцепления, и тогда головку можно свободно поворачивать рукою для визирования в любом направлении в горизонтальной плоскости, в частности и назад, через свою же голову.
Углы поворота отсчитываются по шкалам, помещенным на кольце д и барабанчике е. Эти шкалы служат для пользования Панорамы, как угломером.
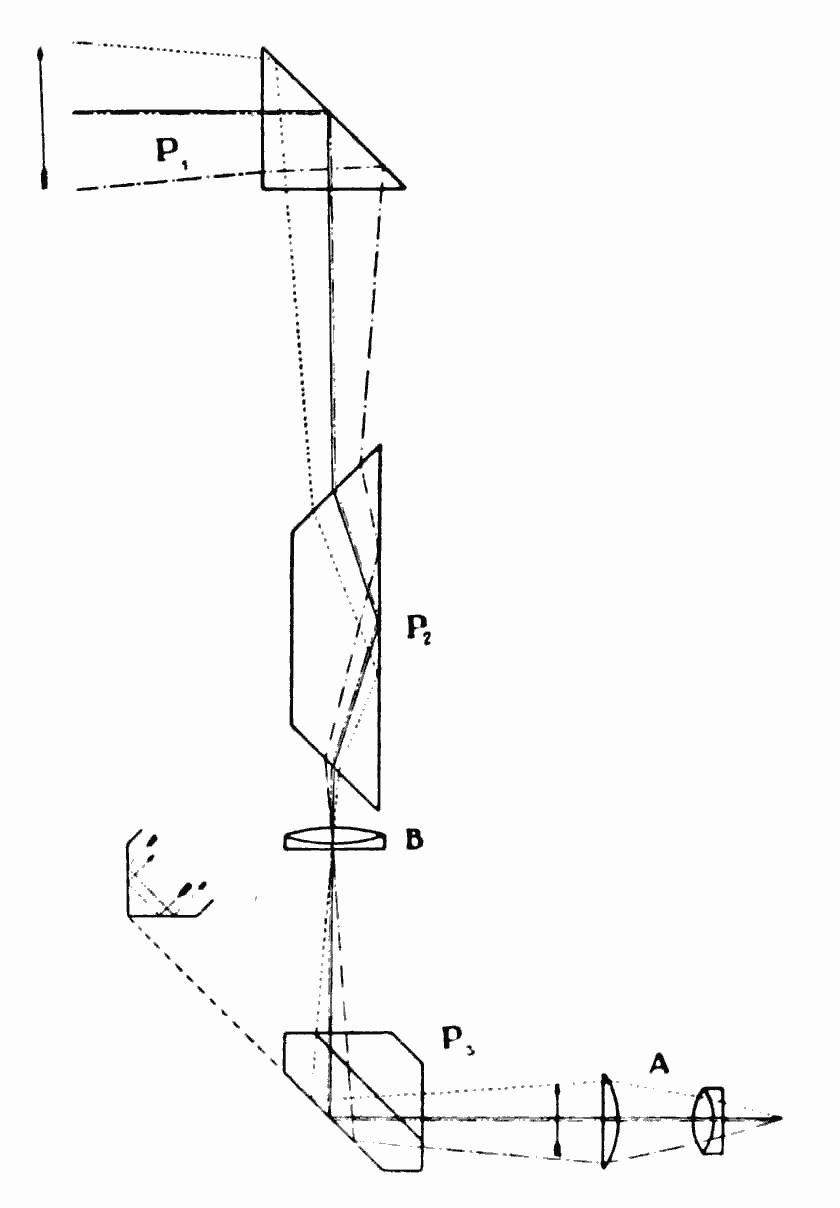
Оптическая часть Панорамы составляет зрительная астрономическая трубка, дополненная системою призм.
Астрономическую трубу составляют окуляр А, объектив В и пластинка Д с перекрестием, помещенная в фокусе объектива. Система призм P1, P2 и P3 служит для того, чтобы дать видимое в поле зрения изображение местности в правильном положении, сохраняя его при всех поворотах головки. Из фиг. 4 видно, что лучи от предмета, отражаясь призмою-рефлектором P1, меняются местами: нижние лучи по отражении становятся верхними и наоборот; выходящее из этой призмы изображение подобно отраженно предмета в зеркале. Далее лучи проходят через призму P2, которая снова переставляет лучи; восстанавливая изображение из зеркального в действительное. После этого лучи преломляются в объективе В, который дал бы опрокинутое изображение, если бы не было далее на пути преломленных лучей призмы P3; она отклоняет пучок лучей под прямым углом, снова переставляет верхние лучи на место нижних и наоборот, а также, благодаря своей крышеобразной (см. слева) отражательные поверхности, меняет местами правую и левую половину изображения, чем и выпрямляет опрокинутое объективом изображение.
Это изображение, получаемое в фокусе объектива, рассматривается окуляром А в увеличенном в 4 раза виде. Если призму-рефлектор P1 повернуть около вертикальной оси на 90°, то, при прежнем положении призмы P2, вертикальные предметы окажутся видимыми в горизонтальном положении, т.-е. изображение окажется повернутым тоже на 90°.
Призма же P2 имеет то свойство, что при повороте её около продольной оси на 180°, происходит поворачивание изображения на 360°, т.-е. изображение поворачивается с вдвое большей угловой скоростью. Поэтому, при повороте призмы-рефлектора P1 на 90°, нужно призму P2 повернуть только на 45°, чтобы вернуть изображение в правильное положение, как и видно по ходу лучей на фиг. 5, а при визировании через голову назад (фиг. 6), когда головка Панорамы повернута на 180°, призму P2 нужно повернуть на 90°.
Т. обр., для выпрямления изображения, поворачивающегося в поле зрения вследствие вращения призмы P1, необходимо, чтобы и призма Р2 одновременно вращалась с вдвое меньшей угловой скоростью. Такое соотношение между угловыми скоростями достигается следующим устройством: призма P2 помещена в направляющей обойме з (ф. ф. 2 и 3), снабженной сбоку осью с насаженной на нее конической шестерней к; последняя сцеплена с 2 одинаковыми коническими зубчатыми колесами — с верхним л, скрепленным наглухо с верхнею вращающеюся частью Панорамы, и с нижним колесом м, неподвижным.
Вращение верхней части Панорамы вызывает перекатывание шестерни по нижнему коническому колесу; при перекатывании ось шестерни, a след., и обойма с призмой P2, вращаются около вертикальной оси с угловой скоростью, вдвое меньшей угловой скорости верхнего конического колеса, a след., и верхней части Панорамы с призмою P1. Последняя еще может поворачиваться в вертикальной плоскости помощью червячного механизма н, помещённого в головке.
Вращение это необходимо для расширения пределов пользования вспомогательными точками в вертикальном направлении. Этим вращением м. пользоваться и для измерения углов в вертикальной плоскости, для чего служат деления, нанесенные на барабанчике о.
В трубке окуляра сбоку против пластинки Д имеется боковое окно для освещения перекрестия в ночное время.
Переднее стекло п служит для защиты внутренней части Панорамы от дождя и пыли.
У принятых в России Панорам для полевых орудий увеличение — 4, поле зрения — 10°, вес — около 1.350 гр. (3,5 фн.).
См. также статьи:

Посетители, находящиеся в группе Гости, не могут оставлять комментарии к данной публикации.